[Previous][Next]
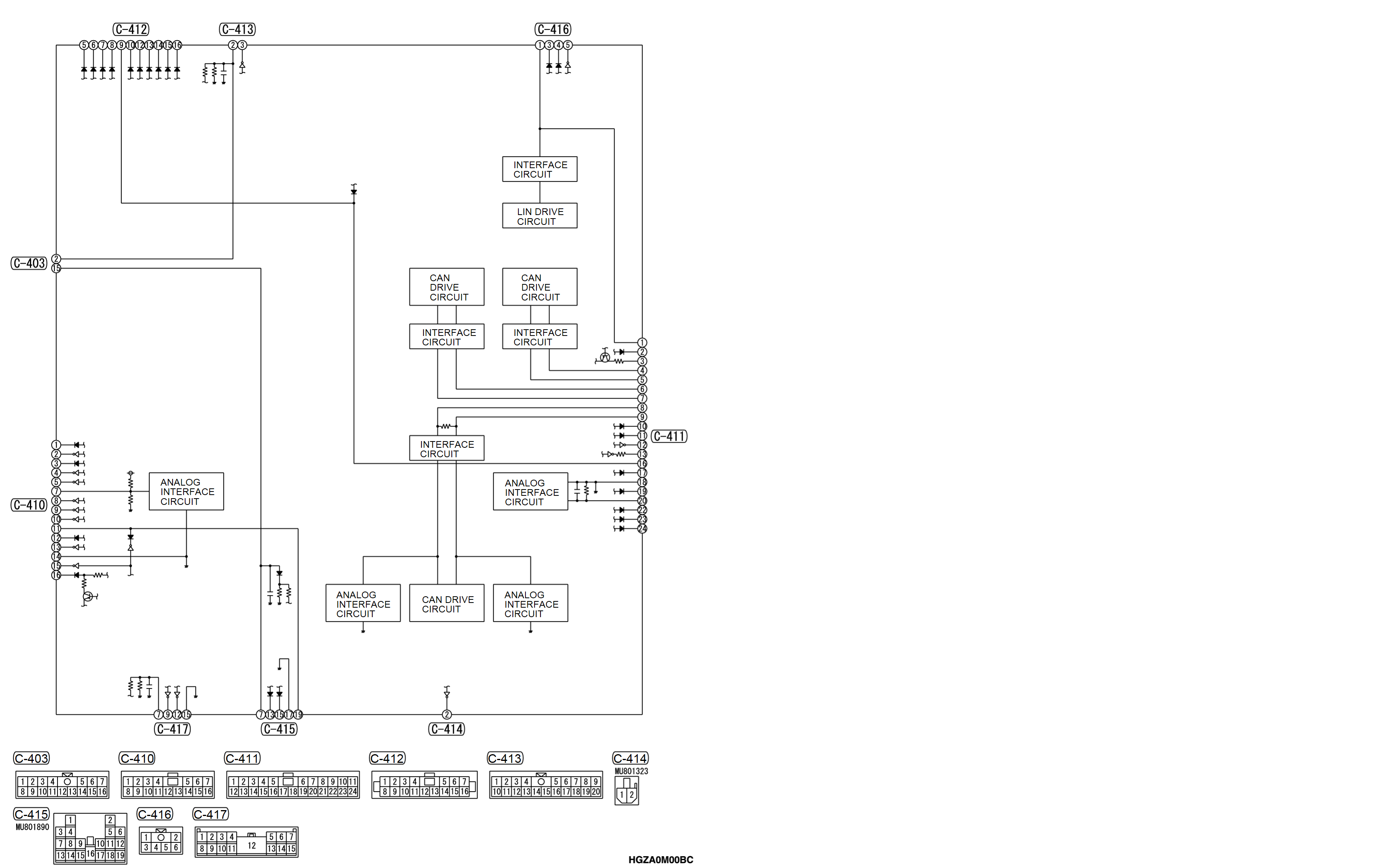
ETACS-ECU
 
 
ETACS-ECU (CONTINUED)
ETACS-ECU (CONTINUED)